Apple, giyilebilir teknoloji dünyasında çığır açacak yeni bir patent başvurusuyla gündemde. Teknoloji devi, parmağa takılabilen ve iPhone'dan akıllı ev sistemlerine kadar birçok cihazı kontrol edebilen yenilikçi bir akıllı yüzük geliştiriyor. Bu kompakt cihaz, kullanıcılara benzersiz bir kontrol deneyimi vaat ediyor.

Parmağınızdaki Teknoloji Merkezi
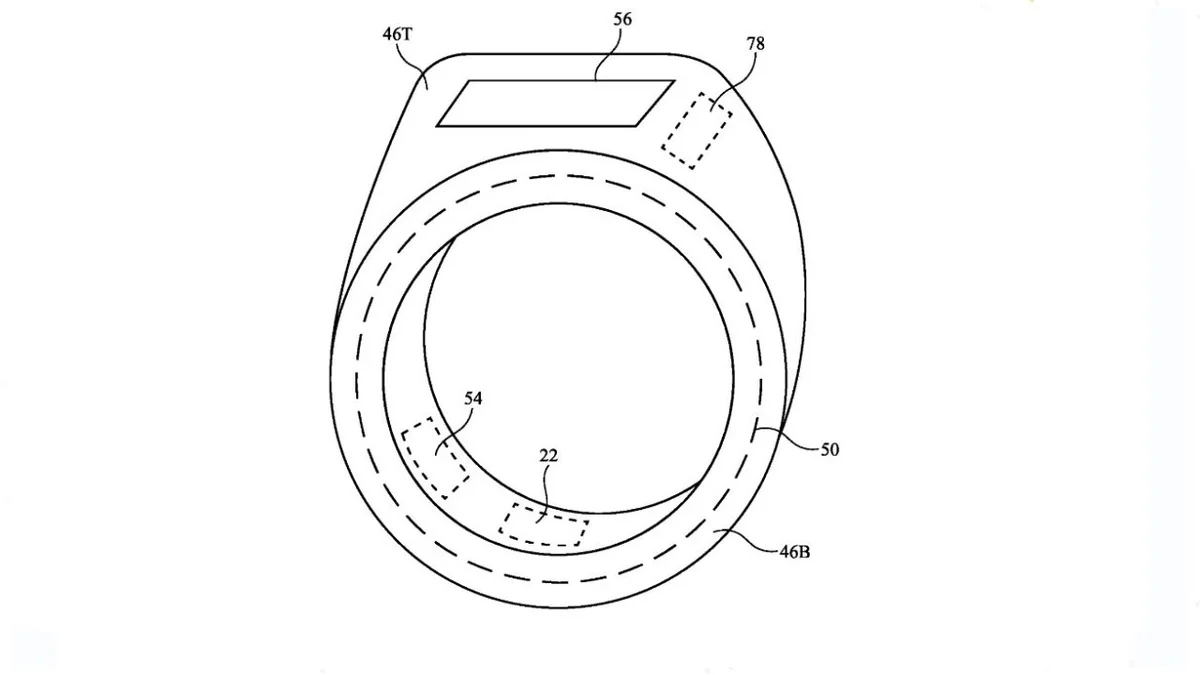
Patent başvurusunda ortaya çıkan detaylara göre, Apple Ring olarak adlandırılan cihaz, dokunmatik yüzey, hareket sensörleri ve kablosuz iletişim modülleri ile donatılmış durumda. Yüzük, parmak hareketlerini algılayarak iPhone, iPad, MacBook ve HomeKit uyumlu cihazları kontrol etme yeteneğine sahip olacak.
Akıllı Ev Kontrolü ve Gesture Teknolojisi
Apple Ring'in en dikkat çekici özelliklerinden biri, gelişmiş hareket algılama sistemi. Kullanıcılar, basit el hareketleriyle:
- Akıllı aydınlatma kontrolü
- Müzik çalar kontrolü
- Akıllı kilit sistemleri yönetimi
- Cihaz bildirimleri kontrolü
Sağlık İzleme Özellikleri
Patent başvurusunda, cihazın sağlık izleme özellikleri de dikkat çekiyor. Apple Ring, kalp atış hızı, kan oksijen seviyesi ve hareket takibi gibi temel sağlık verilerini ölçebilecek sensörlerle donatılacak.
Apple Ring'in ne zaman piyasaya sürüleceği henüz netlik kazanmamış olsa da, patent başvurusunun detayları şirketin bu teknoloji üzerinde ciddi çalışmalar yürüttüğünü gösteriyor.
Yorumlar(0)